top of page

Create Your First Project
Start adding your projects to your portfolio. Click on "Manage Projects" to get started
An Autologous Tissue Replantation Device
Project type
Design for Patent
Date
May 2024 - Aug 2024
Location
Shanghai, CN
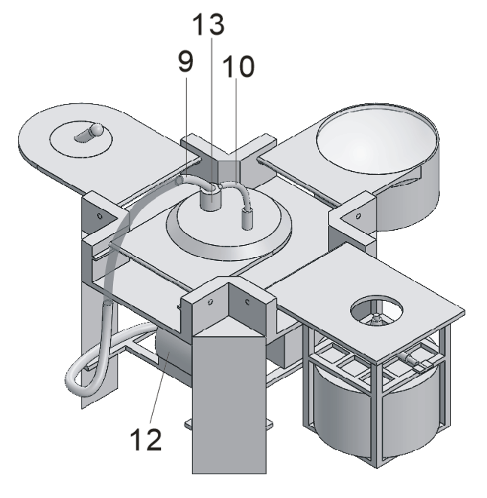
Working with orthopedic surgeons at Huashan hospital, I researched mechanical solutions to powderize cartilage during surgery as a filler material, which could replace collagen to aid with healing. An integrated assembly was designed employing the cryoeffect of liquid nitrogen and a grinding mechanism and was patented (CN Patent 202410942620.0).




bottom of page

